НАШИ НОВОСТИ
-
Доставка метизов
30-01-2024
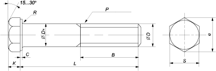
Болт с шестигранной головкой и неполной резьбой DIN 931 (EN ISO 4014)Класс точности A, B
Аналоги ГОСТ: ГОСТ 7798-70, ГОСТ 7805-70, ГОСТ 15589-70.
Стандарт |
Наименование |
Примечание |
EN ISO 4014 |
Болт с шестигранной головкой и неполной резьбой |
Отличие EN ISO 4017 от DIN 933 заключается в том, что в стандарте установлены новый размер под ключ для болтов с диаметром M10, М12, М14 и М22. |
DIN 933 (ENISO 4017)
|
Болт с шестигранной головкой и полной резьбой |
Основное отличие в длине резьбовой части болта. DIN 931 (EN ISO 4014) — болт с неполной резьбой в отличие от DIN 933 (EN ISO 4017), где резьбовая часть по всей длине болта. |
DIN 601 (ENISO 4016)
|
Болт с шестигранной головкой и неполной резьбой |
Практически идентичны. Разница в классах точности: DIN 601 (EN ISO 4016) — класс точности C, DIN 931 (EN ISO 4014) — класс точности A, B. |
Параметры болта |
Номинальный диаметр резьбы D |
||||||||||||||||||||
М3 |
М4 |
M5 |
M6 |
M8 |
M10 |
M12 |
M14 |
M16 |
М18 |
М20 |
М22 |
М24 |
М27 |
М30 |
M36 |
М42 |
М48 |
М56 |
М64 |
||
Шаг резьбы, P |
0,5 |
0,7 |
0,8 |
1 |
1,25 |
1,5 |
1,75 |
2 |
2 |
2,5 |
2,5 |
2,5 |
3 |
3 |
3,5 |
4 |
4,5 |
5 |
5,5 |
6 |
|
Высота головки, K |
2 |
2,8 |
3,5 |
4 |
5,3 |
6,4 |
7,5 |
8,8 |
10 |
11,5 |
12,5 |
14 |
15 |
17 |
18,7 |
22,5 |
26 |
30 |
35 |
40 |
|
C |
мин. |
0,15 |
0,15 |
0,15 |
0,15 |
0,15 |
0,15 |
0,15 |
0,15 |
0,2 |
0,2 |
0,2 |
0,2 |
0,2 |
0,2 |
0,2 |
0,2 |
0,3 |
0,3 |
0,3 |
0,3 |
макс. |
0,4 |
0,4 |
0,5 |
0,5 |
0,6 |
0,6 |
0,6 |
0,6 |
0,8 |
0,8 |
0,8 |
0,8 |
0,8 |
0,8 |
0,8 |
0,8 |
1 |
1 |
1 |
1 |
|
R |
0,1 |
0,2 |
0,2 |
0,25 |
0,4 |
0,4 |
0,6 |
0,6 |
0,6 |
0,6 |
0,8 |
0,8 |
0,8 |
1 |
1 |
1 |
1,2 |
1,6 |
2 |
2 |
|
Ds |
3 |
4 |
5 |
6 |
8 |
10 |
12 |
14 |
16 |
18 |
20 |
22 |
24 |
27 |
30 |
36 |
42 |
48 |
56 |
64 |
|
Диаметр описанной окружности e, не менее |
DIN 931 |
6,01 |
7,66 |
8,79 |
11,05 |
14,38 |
18,9 |
21,1 |
24,49 |
26,75 |
30,14 |
33,53 |
38,85 |
39,98 |
45,2 |
50,85 |
60,79 |
71,3 |
82,6 |
93,56 |
104,9 |
ISO 4014 |
17,77 |
20,03 |
23,36 |
37,72 |
|||||||||||||||||
Размер под ключ, S |
DIN 931 |
5,5 |
7 |
8 |
10 |
13 |
17 |
19 |
22 |
24 |
27 |
30 |
32 |
36 |
41 |
46 |
55 |
65 |
75 |
85 |
95 |
ISO 4014 |
16 |
18 |
21 |
34 |
|||||||||||||||||
Длина резьбовой части, B |
L ≤ 125 |
12 |
14 |
16 |
18 |
22 |
26 |
30 |
34 |
38 |
42 |
46 |
50 |
54 |
60 |
66 |
- |
- |
- |
- |
- |
125 < L ≤ 200<l≤200> |
18 |
20 |
22 |
24 |
28 |
32 |
36 |
40 |
44 |
48 |
52 |
56 |
60 |
66 |
72 |
84 |
96 |
108 |
- |
- |
|
L > 200 |
31 |
33 |
35 |
37 |
41 |
45 |
49 |
53 |
57 |
61 |
65 |
69 |
73 |
79 |
85 |
97 |
109 |
121 |
137 |
153 |
|
Длина болта, L |
Мин. |
30 |
25 |
25 |
30 |
35 |
40 |
45 |
50 |
55 |
55 |
65 |
70 |
75 |
75 |
80 |
130 |
130 |
130 |
200 |
200 |
Макс. |
40 |
100 |
140 |
200 |
300 |
400 |
500 |
500 |
640 |
440 |
660 |
500 |
680 |
560 |
740 |
950 |
640 |
880 |
560 |
560 |
Все параметры в таблице указаны в мм.
Дополнительную информацию о технических характеристиках болта можно получить у менеджеров компании.